产品介绍
Greenwich固定桥式测量机,以最优化的设计理念和丰富的实践经验,将精度、重复性、速度及稳定性融为一体,为高精密产品的质量控制和检测提供了保证。
Greenwich固定桥式测量机
Greenwich固定桥式测量机,以最优化的设计理念和丰富的实践经验,将精度、重复性、速度及稳定性融为一体,为高精密产品的质量控制和检测提供了保证。
采用花岗石结构,固定龙门式设计及整体双燕尾导轨,固定工作台设计,使得整机机械性能保持了高稳定性和可靠性,具有优良的空间精度和出色的动态性能。可完成各种精密复杂工件的测量和轮廓外形扫描等,保证了测量结果具有极高的精度。
性能特点:
出色的性能--享受高精度测量机带来的优势
? 全精密花岗石横梁、整体基座、立柱、工作台、Z轴形成全封闭框架结构,具有无以伦比的稳定性和抗时效性,奠定了精度长期稳定的基础。
? 高精度整体双眼尾导轨,三轴均为中心驱动,大大降低了因各轴运动的俯仰和扭摆产生的阿贝误差。
? 厚重稳固的花岗石工作台面,在保证长期稳定性的基础上并大大减少了振动对精度的影响。
? 采用独特的大跨距气浮设计,承载力强,保证机器在高速运动时扭摆最小,稳定性强。
? 高刚性,预载荷四面环抱式空气轴承分布,高承载性,确保机器运动中的平稳和稳定。
? 完善的气动平衡配置气动安全保护装置。
? 独特的新型双级减速传动系统,确保定位快速、准确,定位精度高。
? 良好的抗时效变形能力,使机器的几何精度长期保持稳定。
? 功能强大、稳定的大功率控制系统,大大改善了运动控制特性。
? 极大地灵活性,可配置各种测头的使用。
? 非常好的重复精度和更长期的使用寿命,是拥有该机的用户享有极高的回报率。
? 丰富的生产及调试经验。
? 极低维护率,充分提升了机器的利用价值。
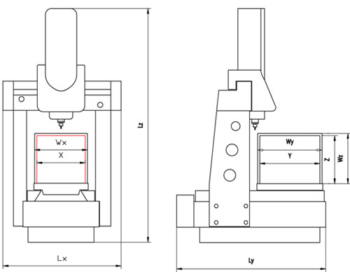
技术参数:
.jpg)
|
MODEL型号
|
STROKES
|
OVERALL SIZE
|
WORK ENVELOPE
|
WEIGHT主机净重
|
PART WEIGHT被测工件最大重量
|
||||||
|
行程范围
|
主机轮廓尺寸
|
允许工件尺寸
|
|||||||||
|
X
|
Y
|
Z
|
Lx
|
Ly
|
Lz
|
Wx
|
Wy
|
Wz
|
|||
|
mm
|
mm
|
mm
|
mm
|
mm
|
Mm
|
mm
|
mm
|
mm
|
kg
|
kg
|
|
|
454
|
400
|
500
|
400
|
1410
|
1450
|
2650
|
700
|
600
|
600
|
5700
|
350
|
|
564
|
500
|
600
|
400
|
1510
|
1650
|
2650
|
800
|
700
|
600
|
6100
|
350
|
|
574
|
500
|
700
|
400
|
1510
|
1850
|
2650
|
800
|
800
|
600
|
6400
|
400
|
|
575
|
500
|
800
|
500
|
1510
|
1850
|
2850
|
800
|
800
|
700
|
6800
|
400
|
|
585
|
500
|
800
|
500
|
1510
|
2050
|
2850
|
800
|
900
|
700
|
7200
|
400
|
|
686
|
600
|
800
|
600
|
1610
|
2050
|
3050
|
900
|
900
|
800
|
7500
|
400
|
|
6106
|
600
|
1000
|
600
|
1610
|
2450
|
3050
|
900
|
1100
|
800
|
8200
|
600
|
|
8106
|
800
|
1000
|
600
|
1810
|
2450
|
3050
|
1100
|
1100
|
800
|
8800
|
600
|
|
10126
|
1000
|
1200
|
600
|
2010
|
2850
|
3050
|
1300
|
1300
|
800
|
9800
|
800
|
|
10128
|
1000
|
1200
|
800
|
2010
|
2850
|
3450
|
1300
|
1300
|
1000
|
10500
|
800
|
|
10158
|
1000
|
1500
|
800
|
2010
|
3450
|
3450
|
1300
|
1600
|
1000
|
11500
|
800
|
|
12156
|
1200
|
1500
|
600
|
2210
|
3450
|
3050
|
1500
|
1600
|
800
|
12000
|
1000
|
|
12158
|
1200
|
1500
|
800
|
2210
|
3450
|
3450
|
1500
|
1600
|
1000
|
12300
|
1000
|
|
12188
|
1200
|
1800
|
800
|
2210
|
4050
|
3450
|
1500
|
1900
|
1000
|
13500
|
1000
|
|
122010
|
1200
|
2000
|
1000
|
2210
|
4250
|
3850
|
1500
|
2100
|
1200
|
14500
|
1200
|
|
MEASURING ACCURACY精度指标
|
MPEE (µm)
|
0.9+3.0L/1000-2.5+3.0L/1000
|
|||||||||
|
MPEP (µm)
|
1.0-2.8
|
||||||||||
来宝会员青岛帝中计量仪器有限公司主要致力于长度计量仪器、光学仪器、形状仪器、材料检测仪器、涂装与表面处理检测仪器、工业分析仪器以及机床设备、五金配件的销售与维修服务。公司…... 了解更多>>